RSK-lxz Гибкая муфта со штифтом и втулкой с тормозным колесом, смазка не требуется
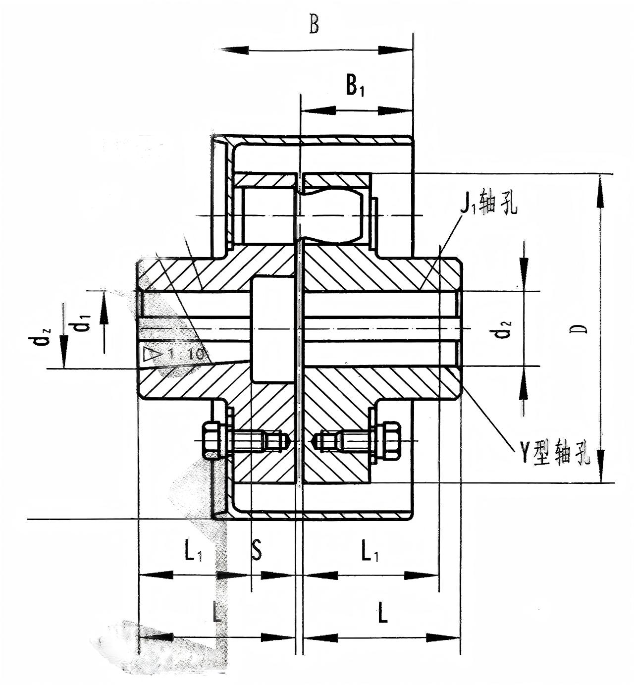
Базовая структура
Полумуфта тормозного колеса: это ее отличительная деталь. Обычно изготавливается из литой стали, чтобы обеспечить достаточную прочность и износостойкость. Его внешняя окружность подвергается точной механической обработке (обточке и шлифовке) для обеспечения заданной шероховатости поверхности, радиального биения и допусков по толщине и служит в качестве фрикционной поверхности тормоза. На ободе колеса часто имеются вентиляционные отверстия для улучшения отвода тепла во время торможения.
Другая полумуфта: стандартный корпус полумуфты, обычно изготовленный из чугуна или литой стали.
Штифты и упругие кольца: Как и в муфте типа RSK-lx, в ней используются нейлоновые (полиамидные) штифты в паре с упругими кольцами из резины или полиуретана. Штифты передают крутящий момент, а упругие кольца обеспечивают амортизацию и компенсацию. Это ключевое отличие от типа RSK-lt, в котором используются резиновые втулки.
Стопорные пластины, гайки, шайбы: используются для фиксации узла штифта.
Структурное исполнение:
Для изготовления эластичных компонентов используется нейлон, который обладает высокой прочностью и износостойкостью и пригоден для работы в агрессивных средах.
Внешняя поверхность стального тормозного колеса прошла закалку.
Рабочая температура колеблется от -20 ℃ до 70 ℃.
Ключевые характеристики
Функциональная интеграция, экономия места:
Объединяет разъем трансмиссии и тормозной привод в один блок, что значительно упрощает осевую компоновку трансмиссии, экономит место для установки и снижает сложность и стоимость поиска дополнительного места между двигателем и коробкой передач для установки отдельного тормозного колеса.
Прямое торможение, быстрый отклик:
Тормозное колесо установлено непосредственно на приводном валу. Тормозной момент, создаваемый тормозом, действующим на колесо, передается непосредственно в систему трансмиссии, что приводит к быстрому торможению без задержек и потерь на промежуточных звеньях трансмиссии.
Компактная структура, простая установка:
Поставляется как единый интегрированный компонент. Пользователю необходимо только выровнять и подключить его, как стандартную муфту, без необходимости отдельной центровки тормозного колеса, что упрощает процесс установки.
Унаследует преимущества штыревых муфт:
Некоторая компенсация несоосности: может компенсировать небольшое осевое, радиальное и угловое смещение.
Амортизация и демпфирование вибрации: эластичные кольца могут поглощать некоторую вибрацию и удары.
Смазка не требуется: нейлоновые штифты и эластичные кольца не требуют смазки во время работы.
Электрическая изоляция: нейлоновый материал обеспечивает изоляцию.
Основные области применения
Тип RSK-lxz представляет собой «стандартную муфту для подъемно-транспортных машин» и используется практически во всех кранах и конвейерах с электрическим приводом:
Мостовые краны, козловые краны: механизм перемещения моста, механизм перемещения тележки, подъемный механизм.
Стреловые краны (башенные краны, портальные краны): поворотный механизм, механизм подъема стрелы.
Ленточные конвейеры, ковшовые элеваторы: Входная сторона приводного барабана.
Металлургические литейные краны: Подъемно-передвижные механизмы.
Другое погрузочно-разгрузочное оборудование, требующее частых запусков/остановок и надежного торможения.

English












